Wtw5200vq2 Whirlpool Washer Water Inlet Valve Epartsfast Com

Wtw5200vq2 Whirlpool Washer Water Inlet Valve Epartsfast Com

Whirlpool W10200828a Washer Manual

Whirlpool W10200828a Washer Manual

Whirlpool Wtw5200vq2 Washer Parts And Accessories At Partswarehouse

Whirlpool Wtw5200vq2 Washer Parts And Accessories At Partswarehouse

Whirlpool Residential Washer Wtw5200vq2 Ereplacementparts Com

Whirlpool Residential Washer Wtw5200vq2 Ereplacementparts Com

Amazon Com 8318084 Washer Lid Switch 3363394 Washing Machine Pump Replacement For Whirlpool Wtw5200vq2 Washer Compatible With Wp8318084 Lid Switch Wp3363394 Water Pump Assembly Upstart Components Brand Home Improvement

Amazon Com 8318084 Washer Lid Switch 3363394 Washing Machine Pump Replacement For Whirlpool Wtw5200vq2 Washer Compatible With Wp8318084 Lid Switch Wp3363394 Water Pump Assembly Upstart Components Brand Home Improvement

Whirlpool Wtw5200vq2 Washer Parts Sears Partsdirect

Whirlpool Wtw5200vq2 Washer Parts Sears Partsdirect

Whirlpool Wtw5200vq2 Washer Parts Sears Partsdirect

We have manuals guides and of course parts for common wtw5200vq2 problems.

Whirlpool washing machine wtw5200vq2.

Whirlpool wtw5200vq2 washer parts manufacturer approved parts for a proper fit every time. Washer will not operate. Get shopping advice from experts friends and the community. We also have installation guides diagrams and manuals to help you along the way.

Brake clutch gearcase motor and pump parts. Repair parts home appliance parts whirlpool parts whirlpool washer parts whirlpool wtw5200vq2 residential washer parts. Whirlpool wtw5200vq2 pdf user manuals. In stock add to cart 5 45 add to cart.

Choose from stackable or combination washing machines perfect for small spaces extra capacity washers to handle large loads and front or top load washing machines to match the needs of your space. Top and cabinet parts. What is the tub size of whirlpool washer model wtw5200vq2. View online or download whirlpool wtw5200vq2 user instructions.

Click on your symptom to see what causes it and how to fix it. Right hand threaded nut holds the tub in place in direct drive top loading washing machines. To remove the spanner nut you will need a spanner wrench. The top three symptoms for wtw5200vq2 are leaking won t start and noisy.

Whirlpool washing machines direct drive troubleshooting guide. Whirlpool washer wtw5200vq2 troubleshooting and repair help we ve put together a list of symptoms for whirlpool washer model wtw5200vq2 below. Compare washing machines from whirlpool brand to take the chore out of doing laundry our washers help you care for your family s clothes in less time with less worry. Controls and rear panel parts.

Whirlpool wtw5200vq2 washing machine keyword. Agitator basket and tub parts. Includes repair parts symptom troubleshooting repair videos and more for my appliance.

How To Whirlpool Washer Wtw5200vq2 Leaks Water

How To Whirlpool Washer Wtw5200vq2 Leaks Water

How To Whirlpool Washer Wtw5200vq2 No Hot Or Cold Water

How To Whirlpool Washer Wtw5200vq2 No Hot Or Cold Water

How To Whirlpool Washer Wtw5200vq2 Burning Smell

How To Whirlpool Washer Wtw5200vq2 Burning Smell

Whirlpool Washing Machine

Whirlpool Washing Machine

Washer Water Inlet Valve For Maytag Mvwc300vw1 Whirlpool Wtw5200vq2 Wtw5300vw2 Ebay

Washer Water Inlet Valve For Maytag Mvwc300vw1 Whirlpool Wtw5200vq2 Wtw5300vw2 Ebay

Whirlpool Wtw5200vq2 Manuals Manualslib

Whirlpool Wtw5200vq2 Manuals Manualslib

Parts For Whirlpool Wtw5200vq2 Washer Appliancepartspros Com

Parts For Whirlpool Wtw5200vq2 Washer Appliancepartspros Com

Shop For Kenmore Automatic Washer Repair Parts For Model 11024924202 At Sears Partsdirect Find Parts Manuals Amp Diagr Washer Repair Kenmore Kenmore Washer

Shop For Kenmore Automatic Washer Repair Parts For Model 11024924202 At Sears Partsdirect Find Parts Manuals Amp Diagr Washer Repair Kenmore Kenmore Washer

Wtw5200vq2 Whirlpool Washer User Instructions Manual

Wtw5200vq2 Whirlpool Washer User Instructions Manual

Residential Whirlpool Wtw5200vq2 Washer Parts For Repair Service

Residential Whirlpool Wtw5200vq2 Washer Parts For Repair Service

How To Whirlpool Washer Wtw5200vq2 Won T Start Or Doesn T Start

How To Whirlpool Washer Wtw5200vq2 Won T Start Or Doesn T Start

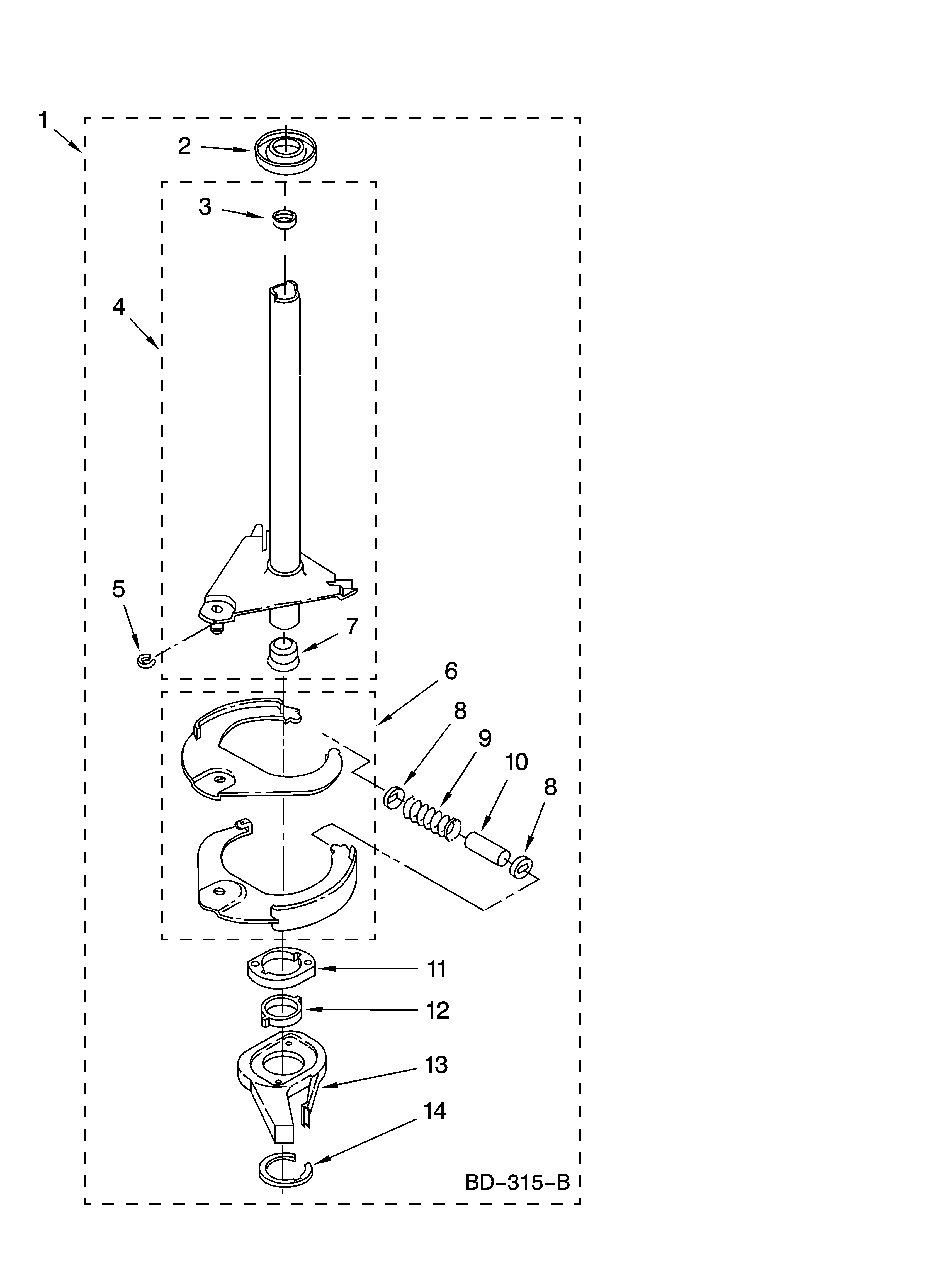
Wtw5200vq2 Whirlpool Automatic Washer Parts And Diagrams

Wtw5200vq2 Whirlpool Automatic Washer Parts And Diagrams

How To Whirlpool Washer Wtw5200vq2 Will Not Stop Filling With Water Or Doesn T Stop Filling With Water

How To Whirlpool Washer Wtw5200vq2 Will Not Stop Filling With Water Or Doesn T Stop Filling With Water

Whirlpool Wtw5200vq2 Parts Reliable Parts

Whirlpool Wtw5200vq2 Parts Reliable Parts

Fixed Wtw5200vq2 Spin Cycle Will Not Engage On It S Own Applianceblog Repair Forums

Fixed Wtw5200vq2 Spin Cycle Will Not Engage On It S Own Applianceblog Repair Forums

Wpw10175553 Whirlpool Washing Machine Timer Parts Dr

Wpw10175553 Whirlpool Washing Machine Timer Parts Dr

Whirlpool Top Load Electric Washer And Dryer Set Wtw5000dw Ywed49stbw White Lowe S Canada

Whirlpool Top Load Electric Washer And Dryer Set Wtw5000dw Ywed49stbw White Lowe S Canada

Whirlpool Washer Dryer Set 400 00 Picclick

Whirlpool Washer Dryer Set 400 00 Picclick

Https Encrypted Tbn0 Gstatic Com Images Q Tbn And9gctpzk7iwmxov7i3kpolejp0kwkzjbhhiclhon6e7ffnzubf6ltz Usqp Cau

Https Encrypted Tbn0 Gstatic Com Images Q Tbn And9gctpzk7iwmxov7i3kpolejp0kwkzjbhhiclhon6e7ffnzubf6ltz Usqp Cau

Source : pinterest.com